医用注射针管刚性测试仪主要用于测定医用注射针针管刚性性能的物理特性,是鉴定医用注射针的重要手段之一。测试操控范围包括:公称规格、管壁、跨度、设定载荷、最大挠度、打印设定、测试、上行、下行、时间、标定等功能设定。另搭配机载打印机,实时显示测试结果及载荷和扰度数据。
《GB/T18457-2015 制造医疗器械用不锈钢针管》标准关于针管刚性试验方法

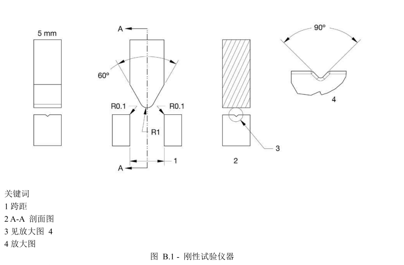
B.1 原理
将一规定的力,施加到两端被支撑的针管的规定跨距的中心,测量针管的挠度值B.2 仪器
B.2.1 刚性试验仪器通过一个下端呈钝楔形的、倾斜平面夹角为 60°、半径为1mm、宽度至少为 5mm的推杆将最大限度为60N,精度为士0.1N的向下垂直作用在针管上。图B.1示例出适用的仪器。
B.2.2仪器能以0.01mm的读数精度测量针管的位移。

B.3 试验程序
B.3.1将针管置于刚性试验仪器(B.2.1)上,按如下要求调整针管和刚性试验仪器a)使跨距为表2中被测针管规格相对应的数值;
b)使施力推杆的端部表面位于跨距的中心:c)使针管与两个搁针架柱和施力推杆保持垂直,同时使针管中心线与搁针架中心线重合。B.3.2按表2中给出针管的公称尺寸相对应的力,以1mm/min和10mm/min 之间的速度对针管施加向下的弯曲力。
B.3.3 测量并记录(B.2.2)在施力点处的针管挠度,精确到0.01mm。
B.4试验报告
试验报告至少有以下内容:
针管的规格及描述:
针管的壁厚类型:正常壁、薄壁、超薄壁、极薄壁;c)测量的挠度值,以mm为单位表示,精确到0.01mm;
试验日期;
按第4章选择,所用不锈钢合金的类型。

以上信息由威夏科技整理发布,希望对您有所帮助。
本文地址: https://www.xsyiq.com/58969.html
网站内容如侵犯了您的权益,请联系我们删除。